中国政府网
吉林省政府网
长春市政府网
注册
登录
退出
首页
新闻中心
信息公开
公开专栏
解读回应
行政许可
执法公示
互动平台
政务服务
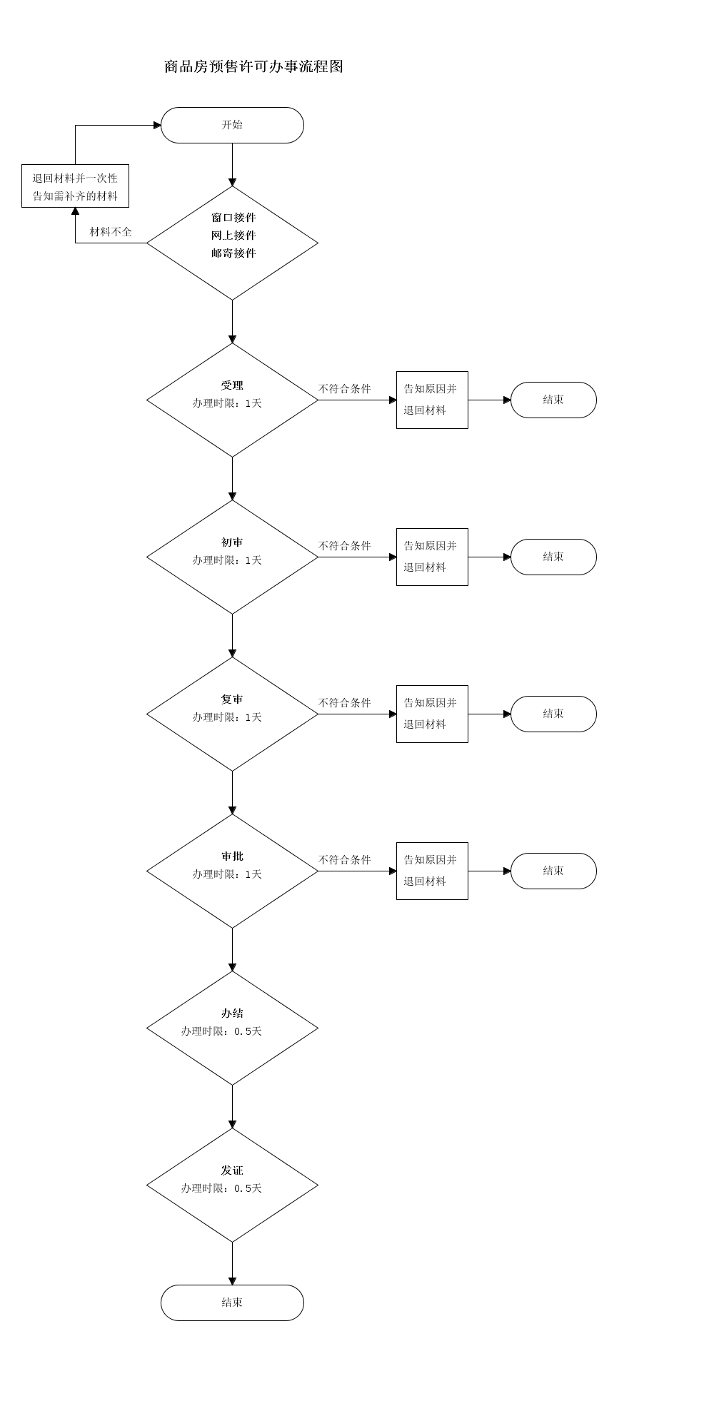
行政许可流程图
您当前的位置:
首页
>
执法公示
>
执法程序
>
行政许可流程图
行政许可流程图
时间:2026-03-20 09:44
来源:长春市住房保障和房屋管理局
【字体:
大
中
小
】
打印